Адрес Российская Федерация , Владимирская область , Красногвардейская
Почтовый адрес 602265
Контактное лицо ПДТ Алексей
Компания:
Тел.: +79051454245
Тел.: +79051454245
E-mail: vspmetall@yandex.ru
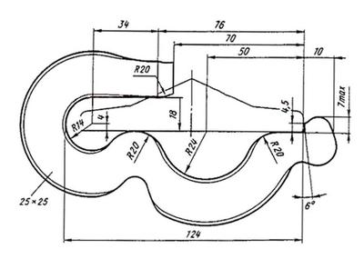
Противоугон П-43 – элемент верхнего строения жд пути, применяется в конструкции с деревянными шпалами и костыльным скреплением. Применяется к рельсам типа Р-43.
Вес 1шт., кг: 1.13
Наша компания предлагает на продажу противоугоны П-43. Они изготовлены из стали марки 65 по ГОСТу 14959-79
Гарантия быстрой отгрузки с нашего склада.
к. т.+7(905)145-42-45, WhatsApp / Telegram




